歡迎訪問北京中天恒遠環保設備有限公司官網!
咨詢熱線:010-8022-5898 手機:18610094262
-
斜發沸石處理氨氮廢水介紹 2018-01-24 [技術新聞] 熱度:205

摘要:以斜發沸石為吸附劑處理氨氮廢水,研究了斜發沸石粒徑、反應時間、廢水pH、廢水氨氮初始濃度、斜發沸石用量對吸附的影響,分析了斜發沸石的吸附動力學和熱力學特征。結果表明,在298 K下,當斜發沸石用量為7 g...
-
合成洗滌劑廢水處理方法介紹(圖文) 2018-01-24 [技術新聞] 熱度:349

合成洗滌劑廢水中含有大量的陰離子表面活性劑(LAS)、不飽和脂肪酸、磷酸、蛋白質粘滯物、甘油及Cl-等,COD濃度較高,是一種較難處理的有機工業廢水[1]。對于合成洗滌劑廢水,國內已使用或處于研究階段的處理方法有:混凝...
-
天然橡膠加工廢水處理技術介紹(圖文) 2018-01-24 [技術新聞] 熱度:372

天然橡膠加工廢水是含NH3-N 的高濃度有機廢水,采用培養、馴化后的MEM 菌生物強化厭氧接觸氧化工藝處理此類廢水,以有效降低污染物濃度。試驗結果表明,在MEM 投加比例為1∶700、HRT 為168 h、氣水比為80∶1、曝氣配...
-
全膜法水處理技術介紹(圖文) 2018-01-24 [技術新聞] 熱度:182

將微濾、超濾、反滲透和電去離子(EDI)等4 種膜分離技術有機地組合在一起應用于工業水處理,達到高效去除污染物和脫鹽目的技術,稱之為全膜水處理技術。近幾年,全膜法因在水處理過程中不需酸、堿,操作方便,出水水...
-
正滲透膜水處理技術介紹(圖文) 2018-01-24 [技術新聞] 熱度:2773

正滲透(Forward osmosis, FO)是近年來發展起來的一種濃度驅動的新型膜分離技術,它是依靠選擇性滲透膜兩側的滲透壓差為驅動力自發實現水傳遞的膜分離過程,是目前世界膜分離領域研究的熱點之一。相對于壓力驅動的膜...
-
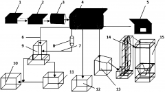
污水初級過濾凈化系統介紹(圖文) 2018-01-24 [技術新聞] 熱度:279

一種污水初級過濾凈化系統,包括抽水裝置(1)、第一框體(2)、擋板裝置(3)、沉淀裝置(4)、滾輪裝置(5)、第一過濾裝置(6)、連接裝置(7)及第二過濾裝置(8),抽水裝置(1)包括第一管道(11)、第一水泵(13),第一框體(2)上設...
-
武漢市新洲區李集街污水處理廠(圖文) 2018-01-24 [技術新聞] 熱度:320

武漢市新洲區李集街污水處理廠于2013年建設,湖北武漢市新洲區李集街污水處理廠采用較為先進的污水處理工藝, 其設計規模為.15萬立方米/日, 先期日處理規模達到.15萬立方米/日,武漢市新洲區李集街污水處理廠地點:...
-
污泥催化裂解綜合利用系統介紹(圖文) 2018-01-24 [技術新聞] 熱度:288

本實用新型公開了一種污泥催化裂解綜合利用系統,包括污泥預處理裝置、微波裂解裝置、固體處理裝置、液體處理裝置、氣體處理裝置和電源,污泥通過粉碎機粉碎后,由螺桿泵送入圓盤干燥機進行干燥,再送入螺旋輸送機進...
-
生活飲用水處理介紹 2018-01-24 [技術新聞] 熱度:271

飲用水(又稱生活飲用水)是指人們的飲水和生活用水,主要通過飲水和食物經口攝入體內,并可通過洗漱、洗滌物品、沐浴等生活用水接觸皮膚或呼吸攝入人體。飲用水與人體健康和生活質量密切相關,其重要性不亞于食品。 ...
-
飲用水處理工藝介紹 2018-01-24 [技術新聞] 熱度:211

隨著水污染日益嚴重,大量的污染物尤其是有機污染物通過不同的方式進入水體,飲用水水源受到日趨廣泛的污染。傳統的混凝、過濾、消毒等自來水工藝是以去除污水 中的懸浮物、濁度、色度為主,對溶解性有機物去除能力...
-
吸附樹脂法處理廢水介紹 2018-01-24 [技術新聞] 熱度:237

1.概述 吸附樹脂又稱聚合物吸附劑,它是一類以吸附為特點,對有機物具有濃縮分離作用的高分子聚合物。按照樹脂的表面性質,吸附樹脂一般分為非極性吸附樹脂、中極性樹脂和極性樹脂三類:非極性吸附樹脂是由偶極矩很...
-
異VC鈉廢水處理方法 2018-01-24 [技術新聞] 熱度:211

江西某食品廠目前主要以生產異VC鈉食品添加劑為主,生產過程中產生濃度高、色度高及可生化性強的廢水。針對該公司廢水的特點,采用UASB生物接觸氧化池Biofor(一段式生物過濾氧化反應器)工藝處理廢水,要求達到《污水...
-
純水處理工藝介紹 2018-01-24 [技術新聞] 熱度:304

以符合生活飲用水衛生標準的水為原水通過電滲析器法、離子交換器法、反滲透法、蒸餾法及其他適當的加工方法,制得的密封于容器內,且不含任何添加物,無色透明,可直接飲用的水。 下面,關于純水處理工藝做一個反滲...
-
飲用水消毒過程研究(圖文) 2018-01-24 [技術新聞] 熱度:216

氯消毒應用于飲用水消毒處理已有100多年的歷史,是目前飲用水廠最常見的消毒技術. 然而自從20世紀70年代Rook首先發現飲用水氯消毒后有副產物三鹵甲烷(THMs)生成,多種DBPs陸續被檢出,例如鹵乙酸、 鹵乙腈、 鹵代醛...
-
化工廠污水排放標準(圖文) 2018-01-24 [技術新聞] 熱度:462

化學工業包括有機化工和無機化工兩大類,化工廠產品多種多樣,成分復雜,由化工廠生產產品過程中所生產的污水,如生產乙烯、聚乙烯、橡膠、聚酯、甲醇、乙二醇、油品罐區、空分空壓站等裝置的含油污水,統稱為化工廠...
- 首頁
- 上一頁
- 30
- 31
- 32
- 33
- 34
- 35
- 36
- 37
- 38
- 39
- 40
- 下一頁
- 末頁
- 共 67頁1002條
服務地區:北京;天津;上海;重慶;河北;河南;云南;遼寧;黑龍江;湖南;安徽;山東;江蘇;浙江;江西;湖北;廣西;甘肅;山西;陜西;吉林;福建;貴州;廣東;青海;四川;寧夏;海南
服務地區:哈爾濱;長春;沈陽;南京;濟南;合肥;石家莊;鄭州;武漢;長沙;南昌;西安;太原;成都;西寧;海口;廣州;貴陽;杭州;福州;臺北;蘭州;昆明;銀川;烏魯木齊;拉薩;南寧
補充分類:電廠;工業;游泳池;系統;工程;工程師;藥劑;過濾器;絮凝劑;公司;廠家;生產廠家;