今天為廣大朋友介紹的是——建筑用污水處理技術
建筑用污水處理裝置,包括砂石池、過濾池、沉淀池、溢流池和消毒箱,所述砂石池、過濾池、沉淀池和溢流池依次連續布置,過濾池內設有用于導入污水的進水管,過濾池內安裝有傾斜的濾網,且濾網的比較底端位置處與砂石池連通;所述過濾池和沉淀池通過抽水管連接,抽水管上還安裝有水泵一,抽水管還與用于向污水投入絮凝劑的加藥管連接,所述沉淀池的底部設有多個截面為等腰梯形的污泥斗,本發明的有益效果是:進入到過濾池內的污水經過濾網的過濾之后,其中的砂石被截留下來,并進入到砂石池內儲放,方便人員集中對砂石進行處理,同時排泥支管均與排泥干管的設計,能方便的將沉降在污泥斗內的污泥排出。

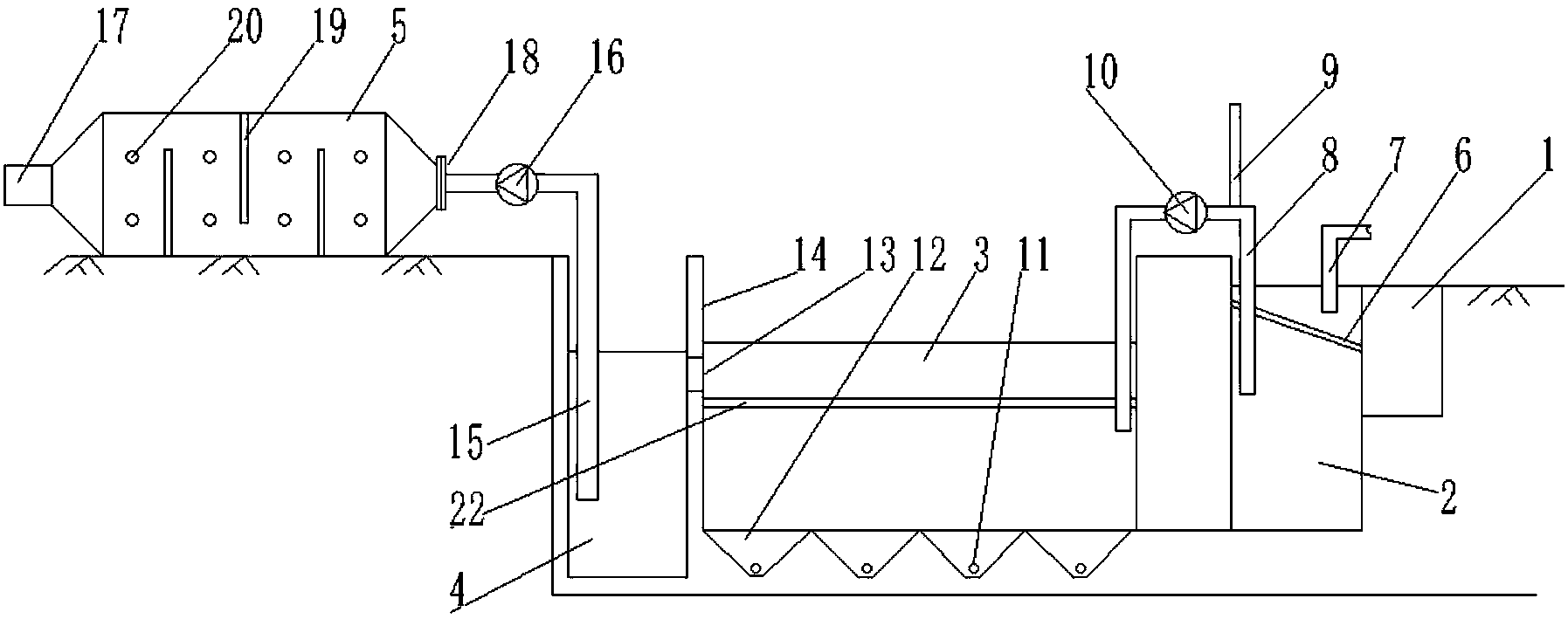
1.一種建筑用污水處理裝置,包括砂石池、過濾池、沉淀池、溢流池和消毒箱,其特征在于,所述砂石池、過濾池、沉淀池和溢流池依次連續布置,過濾池內設有用于導入污水的進水管,過濾池內安裝有傾斜的濾網,且濾網的比較底端位置處與砂石池連通;所述過濾池和沉淀池通過抽水管連接,抽水管上還安裝有水泵一,抽水管還與用于向污水投入絮凝劑的加藥管連接,所述沉淀池的底部設有多個截面為等腰梯形的污泥斗,每個所述污泥斗內均固定有用于排泥的排泥支管,多個排泥支管均與排泥干管連接,沉淀池與溢流池之間以隔墻隔開,隔墻的上部設有等高的多個溢流孔,溢流孔的設計使得沉淀池內的上層清水能溢流至溢流池內,溢流池通過出水管與用于進行消毒的消毒箱連接,出水管上安裝有水泵二,水泵二和水泵一均與電源和控制開關連接;所述消毒箱內設有多個隔板,多個隔板將消毒箱分割成多個連通的空間,消毒箱內安裝有多個紫外線消毒管;所述消毒箱的兩端位置分別設有排水接口和進水接口,其中進水接口通過法蘭與出水管連接。
2.根據權利要求1所述的一種建筑用污水處理裝置,其特征在于,所述加藥管與用于儲存絮凝劑的藥箱連接,且加藥管上安裝有用于控制絮凝劑流量的閥門。
3.根據權利要求2所述的一種建筑用污水處理裝置,其特征在于,所述砂石池內安裝有用于提升砂石的提升裝置。
4.根據權利要求3所述的一種建筑用污水處理裝置,其特征在于,每個所述排泥支管上均安裝有蝶閥,且與排泥支管連接的排泥干管上還安裝有排污泵。
5.根據權利要求4所述的一種建筑用污水處理裝置,其特征在于,所述沉淀池內還安裝有紊流網板。
6.根據權利要求5所述的一種建筑用污水處理裝置,其特征在于,所述紊流網板的安裝高度大于抽水管的端口高度且小于溢流孔的高度。
7.根據權利要求6所述的一種建筑用污水處理裝置,其特征在于,所述沉淀池內還安裝有用于對液位進行檢測的浮球式液位計。
隨著經濟的高速發展,資源的浪費日益嚴重,世界各國對建筑物節能的要求日趨嚴格。因此,構建節水型社會是促進和諧社會發展以及人與自然和諧共存的重要內容之一,是解決水資源匱乏問題的必然選擇。
在建筑施工過程中常常會產生較多的污水,人們一般會直接排放或者進行簡單的處理排放,不能達到污水處理排放標準,污染環境且資源嚴重浪費。
發明內容
本發明的目的在于提供一種建筑用污水處理裝置,以解決上述背景技術中提出的問題。
為實現上述目的,本發明提供如下技術方案:
一種建筑用污水處理裝置,包括砂石池、過濾池、沉淀池、溢流池和消毒箱,所述砂石池、過濾池、沉淀池和溢流池依次連續布置,過濾池內設有用于導入污水的進水管,過濾池內安裝有傾斜的濾網,且濾網的比較底端位置處與砂石池連通;所述過濾池和沉淀池通過抽水管連接,抽水管上還安裝有水泵一,抽水管還與用于向污水投入絮凝劑的加藥管連接,所述沉淀池的底部設有多個截面為等腰梯形的污泥斗,每個所述污泥斗內均固定有用于排泥的排泥支管,多個排泥支管均與排泥干管連接,沉淀池與溢流池之間以隔墻隔開,隔墻的上部設有等高的多個溢流孔,溢流孔的設計使得沉淀池內的上層清水能溢流至溢流池內,溢流池通過出水管與用于進行消毒的消毒箱連接,出水管上安裝有水泵二,水泵二和水泵一均與電源和控制開關連接;所述消毒箱內設有多個隔板,多個隔板將消毒箱分割成多個連通的空間,消毒箱內安裝有多個紫外線消毒管,所述消毒箱的兩端位置分別設有排水接口和進水接口,其中進水接口通過法蘭與出水管連接。
作為本發明進一步的方案:所述加藥管與用于儲存絮凝劑的藥箱連接,且加藥管上安裝有用于控制絮凝劑流量的閥門。
作為本發明再進一步的方案:所述砂石池內安裝有用于提升砂石的提升裝置。
作為本發明再進一步的方案:每個所述排泥支管上均安裝有蝶閥,且與排泥支管連接的排泥干管上還安裝有排污泵。
作為本發明再進一步的方案:所述沉淀池內還安裝有紊流網板。
作為本發明再進一步的方案:所述紊流網板的安裝高度大于抽水管的端口高度且小于溢流孔的高度。
作為本發明再進一步的方案:所述沉淀池內還安裝有用于對液位進行檢測的浮球式液位計。
與現有技術相比,本發明的有益效果是:進入到過濾池內的污水經過濾網的過濾之后,其中的砂石被截留下來,并進入到砂石池內儲放,方便人員集中對砂石進行處理,同時排泥支管均與排泥干管的設計,能方便的將沉降在污泥斗內的污泥排出,便于對沉淀池進行有效的清理,比較后污水經過消毒箱的消毒之后可以直接達到排放標準,整體結構簡單,操作方便,基本無需人工進行干預。

污水處理設備聯系方式:
銷售熱線:010-8022-5898
手機號碼:186-1009-4262





