今天小編為大家介紹的是——家用壁掛式洗澡水處理設備
家用壁掛式洗澡水處理設備,包括機架,所述機架側面設有儲水箱,所述儲水箱側面設有過濾結構,所述機架下端固定安裝有活性炭過濾器,所述活性炭過濾器下端固定安裝有過濾裝置,所述活性炭過濾器的出水孔插入過濾箱體上端的進水孔內,所述過濾裝置下端設有自沖洗裝置,所述自沖洗裝置下端固定安裝有電解除污裝置,所述電解除污裝置下端固定安裝有貯水箱,所述電解除污箱體裝有過濾網的一端的插入貯水箱體內,所述貯水箱體底面開有出水孔,所述出水孔內插裝有導流管,所述導流管遠離出水孔的一端插裝在抽水馬桶的進水孔內。本發明的有益效果是,結構簡單,實用性強。

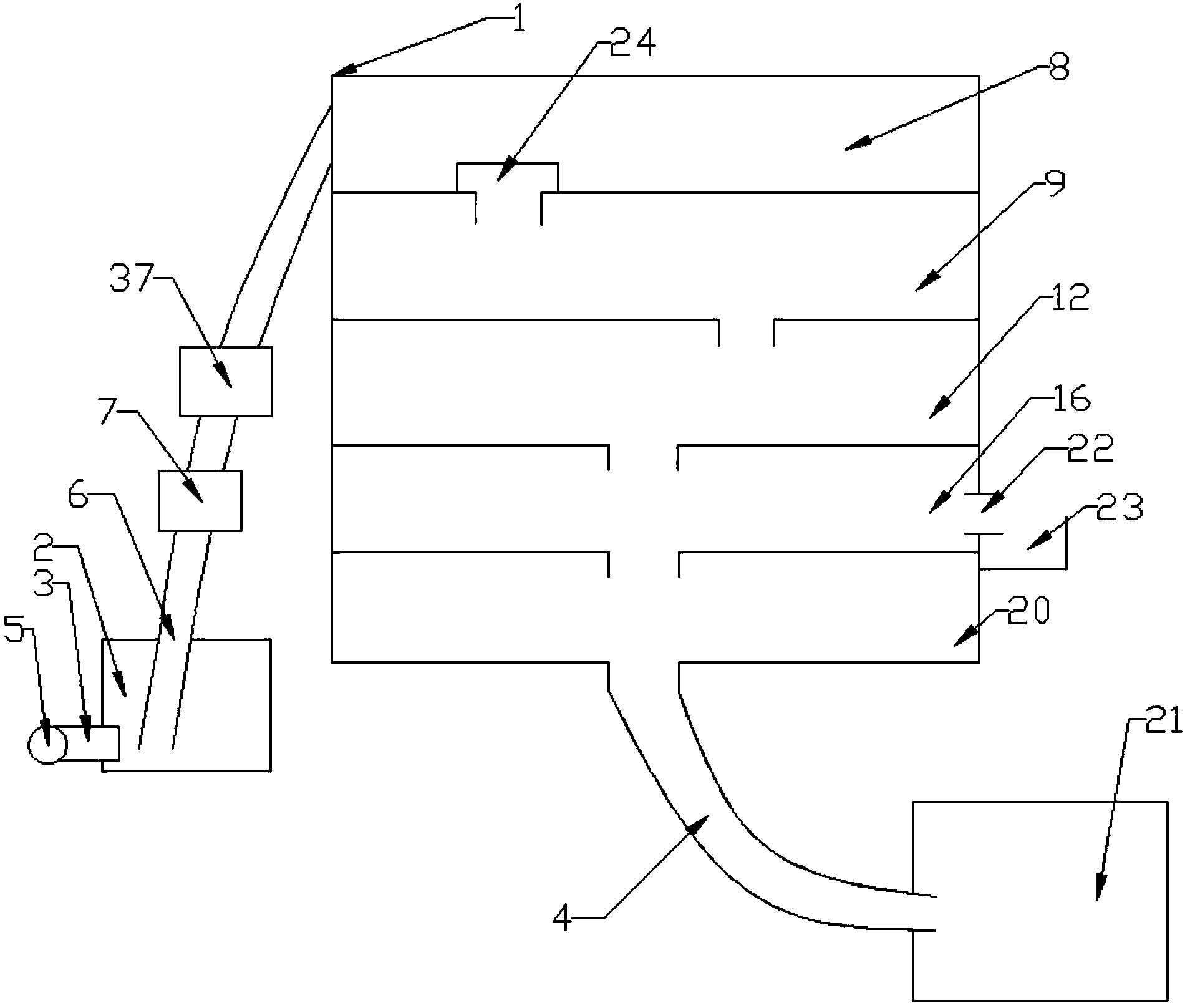
1.一種家用壁掛式洗澡水處理設備,包括機架(1),其特征在于,所述機架(1)側面設有固定安裝在地面上的儲水箱(2),所述儲水箱(2)一側開有進水孔(3),所述進水孔(3)通過導流管(4)與洗澡水排水口(5)連接,所述儲水箱(2)頂部開有出水孔(6),所述出水孔(6)內插裝有導流管(4),所述導流管(4)與儲水箱(2)底部不接觸,所述導流管(4)靠近出水孔(6)處設有過濾結構(7),所述機架(1)側面開有進水孔(3),所述導流管(4)遠離儲水箱(2)出水孔(6)的一端插裝在機架(1)側面進水孔(3)內,所述儲水箱(2)出水孔(6)與機架(1)側面進水孔(3)之間的導流管(4)上插裝有抽吸泵(37),所述機架(1)進水孔(3)下端固定安裝有活性炭過濾器(8),所述機架(1)進水孔(3)上的導流管(4)插裝在活性炭過濾器(8)的進水孔(3)處,所述活性炭過濾器(8)下端固定安裝有過濾裝置(9),所述過濾裝置(9)由過濾箱體(10)、開在過濾箱體(10)上端的進水孔(3)、由上到下一層層放置的過濾層(11)、開在過濾箱體(10)下端的出水孔(6)組成,所述活性炭過濾器(8)的出水孔(6)插入過濾箱體(10)上端的進水孔(3)內,所述過濾裝置(9)下端設有自沖洗裝置(12),所述過濾箱體(10)下端的出水孔(6)通過導流管(4)插入自沖洗裝置(12)內,所述自沖洗裝置(12)由自沖洗箱體(13)、一端插裝在自沖洗箱體(13)內另一端插裝在過濾裝置(9)內的虹吸管(14)、開在自沖洗箱體(13)側面的出水管(15)組成,所述自沖洗裝置(12)下端固定安裝有電解除污裝置(16),所述電解除污裝置(16)由電解除污箱體(17)、開在電解除污箱體(17)頂面的進水孔(3)、連通自沖洗裝置(12)出水管(15)和電解除污箱體(17)頂面的進水孔(3)之間的導流管(4)、固定安裝在電解除污箱體(17)底端的過濾網(18)、固定安裝在機架(1)上的泡沫排污管(19)組成,所述電解除污裝置(16)下端固定安裝有貯水箱(20),所述電解除污箱體(17)裝有過濾網(18)的一端的插入貯水箱體(20)內,所述貯水箱體(20)底面開有出水孔(6),所述出水孔(6)內插裝有導流管(4),所述導流管(4)遠離出水孔(6)的一端插裝在抽水馬桶(21)的進水孔(3)內。
2.根據權利要求1所述的一種家用壁掛式洗澡水處理設備,其特征在于,所述電解除污箱體(17)為L形壓力罐箱體,所述電解除污箱體(17)一端通過導流管(4)與活性炭過濾器(8)進水孔(3)連接,所述電解除污箱體(17)另一端固定連接有泡沫排污管(19)。
3.根據權利要求1所述的一種家用壁掛式洗澡水處理設備,其特征在于,所述機架(1)側面開有通孔(22),所述泡沫排污管(19)通過通孔(22)伸出機架(1),所述機架(1)側面固定安裝有泡沫收集箱(23),所述泡沫收集箱(23)位于泡沫排污管(19)下面。
4.根據權利要求1所述的一種家用壁掛式洗澡水處理設備,其特征在于,所述活性炭過濾器(8)的出水孔(6)上端裝有防止活性炭掉落的活性炭過濾網(24)。
5.根據權利要求1所述的一種家用壁掛式洗澡水處理設備,其特征在于,所述過濾結構(7)由污垢收集過濾袋(25)、頭發收集過濾袋(26)、濾網(27)組成。
6.根據權利要求1所述的一種家用壁掛式洗澡水處理設備,其特征在于,所述儲水箱(2)側面固定連接有凸臺(28),所述儲水箱(2)頂面兩側固定連接有掛鉤(29),所述掛鉤(29)鉤在凸臺(28)上。
7.根據權利要求5所述的一種家用壁掛式洗澡水處理設備,其特征在于,所述所述過濾結構(7)為可拆卸式過濾結構,所述過濾結構(7)通過螺紋結構與導流管(4)連接,所述螺紋結構由攻在導流管(4)內壁上的螺紋(30)和過濾結構(7)外側的螺紋(30)組成。
8.根據權利要求1所述的一種家用壁掛式洗澡水處理設備,其特征在于,所述虹吸管(14)兩端不等高,所述虹吸管(14)插入自沖洗箱體(13)內的高度高于插入過濾裝置(9)內的高度。
9.根據權利要求1所述的一種家用壁掛式洗澡水處理設備,其特征在于,所述機架(1)為不銹鋼材質,所述機架(1)背面焊接有安裝插板(31),所述安裝插板(31)為L形安裝插板。
10.根據權利要求1所述的一種家用壁掛式洗澡水處理設備,其特征在于,所述機架(1)側面開有開關放置槽(32),所述開關放置槽(32)內放入開關(33),所述機架(1)側面開有電線放置孔(34),所述電線放置孔(34)內插入電線(35),所述電線(35)遠離機架(1)的一端插入插座(36)內。
原有的洗澡水處理設備一般都用在洗浴中心,家庭的很少,本發明的新型家用壁掛式洗澡水處理設備直接把家庭洗完澡的水收集起來,把里面的污垢和頭發過濾出去,通過一級級的過濾把里面的雜質、細菌過濾出去,直接把過濾過的水收集在貯水箱中,與抽水馬桶連接,把水直接沖,馬桶用,掛在墻上,節省空間。
發明內容
本發明的目的是為了解決上述問題,設計了一種家用壁掛式洗澡水處理設備。
實現上述目的本發明的技術方案為,一種家用壁掛式洗澡水處理設備,包括機架,所述機架側面設有固定安裝在地面上的儲水箱,所述儲水箱一側開有進水孔,所述進水孔通過導流管與洗澡水排水口連接,所述儲水箱頂部開有出水孔,所述出水孔內插裝有導流管,所述導流管與儲水箱底部不接觸,所述導流管靠近出水孔處設有過濾結構,所述機架側面開有進水孔,所述導流管遠離儲水箱出水孔的一端插裝在機架側面進水孔內,所述儲水箱出水孔與機架側面進水孔之間的導流管上插裝有抽吸泵,所述機架進水孔下端固定安裝有活性炭過濾器,所述機架進水孔上的導流管插裝在活性炭過濾器的進水孔處,所述活性炭過濾器下端固定安裝有過濾裝置,所述過濾裝置由過濾箱體、開在過濾箱體上端的進水孔、由上到下一層層放置的過濾層、開在過濾箱體下端的出水孔組成,所述活性炭過濾器的出水孔插入過濾箱體上端的進水孔內,所述過濾裝置下端設有自沖洗裝置,所述過濾箱體下端的出水孔通過導流管插入自沖洗裝置內,所述自沖洗裝置由自沖洗箱體、一端插裝在自沖洗箱體內另一端插裝在過濾裝置內的虹吸管、開在自沖洗箱體側面的出水管組成,所述自沖洗裝置下端固定安裝有電解除污裝置,所述電解除污裝置由電解除污箱體、開在電解除污箱體頂面的進水孔、連通自沖洗裝置出水管和電解除污箱體頂面的進水孔之間的導流管、固定安裝在電解除污箱體底端的過濾網、固定安裝在箱體上的泡沫排污管組成,所述電解除污裝置下端固定安裝有貯水箱,所述電解除污箱體裝有過濾網的一端的插入貯水箱體內,所述貯水箱體底面開有出水孔,所述出水孔內插裝有導流管,所述導流管遠離出水孔的一端插裝在抽水馬桶的進水孔內。
所述電解除污箱體為L形壓力罐箱體,所述電解除污箱體一端通過導流管與活性炭過濾器進水孔連接,所述電解除污箱體另一端固定連接有泡沫排污管。
所述機身側面開有通孔,所述泡沫排污管通過通孔伸出機架,所述機架側面固定安裝有泡沫收集箱,所述泡沫收集箱位于泡沫排污管下面。
所述活性炭過濾器的出水孔上端裝有防止活性炭掉落的活性炭過濾網。
所述過濾結構由污垢收集過濾袋、頭發收集過濾袋、濾網組成。
所述儲水箱側面固定連接有凸臺,所述儲水箱頂面兩側固定連接有掛鉤,所述掛鉤鉤在凸臺上。
所述所述過濾結構為可拆卸式過濾結構,所述過濾結構通過螺紋結構與導流管連接,所述螺紋結構由攻在導流管內壁上的螺紋和過濾結構外側的螺紋組成。
所述虹吸管兩端不等高,所述虹吸管插入自沖洗箱體內的高度高于插入過濾裝置內的高度。
所述機架為不銹鋼材質,所述機架背面焊接有安裝插板,所述安裝插板為L形安裝插板。
所述機架側面開有開關放置槽,所述開關放置槽內放入開關,所述機架側面開有電線放置孔,所述電線放置孔內插入電線,所述電線遠離機架的一端插入插座內。
利用本發明的技術方案制作的新型家用壁掛式洗澡水處理設備,直接把家庭洗完澡的水收集起來,把里面的污垢和頭發過濾出去,通過一級級的過濾把里面的雜質、細菌過濾出去,直接把過濾過的水收集在貯水箱中,與抽水馬桶連接,把水直接沖,馬桶用,掛在墻上,節省空間。

污水處理設備聯系方式:
銷售熱線:010-8022-5898
手機號碼:186-1009-4262





