歡迎訪問北京中天恒遠環保設備有限公司官網!
咨詢熱線:010-8022-5898 手機:18610094262
-
新型油田污水處理系統 2018-01-24 [行業資訊] 熱度:284

本實用新型涉及一種新型油田污水處理系統。其目的是為了提供一種結構簡單、組合靈活、工作效率高的污水處理系統。本實用新型包括調節池、離心分離器、UASB反應器和HMBR反應器,調節池的入水口與原水管道連通,調節池...
-
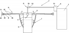
油田污水處理池 2018-01-24 [行業資訊] 熱度:307

本發明提供了一種油田污水處理池,包括污水池,其特征在于,所述污水池連接污水入池管道,排油管道和排水管道;所述污水池還包括了超聲波換能器陣列架,沉降區域,斜管固定裝置以及隔離網。通過上述方式,本發明能夠...
-
清水縣“十二五”節能減排綜合性工作方案 2018-01-24 [行業資訊] 熱度:306

十二五時期是我縣全面建設小康社會的關鍵時期,工業化、城鎮化進程將進一步加快,能源需求剛性增長,資源環境約束突出,節能減排工作形勢嚴峻。為了切實提高資源利用效率,減少污染物排放,實現綠色發展、低碳發展和...
-
江蘇揚州市城市環境綜合整治行動實施方案 2018-01-24 [行業資訊] 熱度:316

為進一步改善城鄉環境面貌和人居環境質量,省政府決定從2013年起,利用三年左右的時間,在全省開展城市環境綜合整治行動。根據省政府的統一部署,結合我市實際,制定實施方案如下。 一、總體目標要求 (一)指導思想 ...
-
小型水產加工企業廢水處理工藝改造 2018-01-24 [行業資訊] 熱度:272

臺州地處浙江東部沿海,水產加工行業發達,小型水產加工企業眾多。水產食品加工廢水的懸浮物和動物油脂濃度高,氨氮及磷較高,水溫低,生化降解速率慢;污泥呈膠體狀,量大、難脫水,且容易腐爛變質散發出臭味,并造...
-
冷卻循環水處理工藝及其特點 2018-01-24 [行業資訊] 熱度:195

冷凍水是只通過制冷機使其溫度下降后再流向冷卻工藝的循環水,主要用于中央空調和工廠中需低溫冷卻的系統。就冷卻系統的構成而言,冷凍水分為密閉式和非密閉式,非密閉式又分為部分敞開式和噴淋式兩種類型。 冷凍水...
-
飲用水消毒過程研究 2018-01-24 [行業資訊] 熱度:187

氯消毒應用于飲用水消毒處理已有100多年的歷史,是目前飲用水廠最常見的消毒技術. 然而自從20世紀70年代Rook首先發現飲用水氯消毒后有副產物三鹵甲烷(THMs)生成,多種DBPs陸續被檢出,例如鹵乙酸、 鹵乙腈、 鹵代醛...
-
高效的污水取樣裝置 2018-01-24 [行業資訊] 熱度:277

本發明涉及一種污水取樣裝置,包括取樣器以及瞄準裝置;所述取樣器包括上機械室以及下集液室;上機械室沿其內壁四周均勻設置有若干個伸縮驅動室;所述伸縮驅動室遠離上機械室一側設置伸縮桿;所述伸縮桿穿入伸縮驅動室與...
-
難降解有機廢水物化溶劑吸附處理設備介紹 2018-01-23 [行業資訊] 熱度:291

本實用新型公開了一種難降解有機廢水的物化溶劑吸附處理設備,包括反應罐、高壓風機、氧化室和氣浮室,所述氧化室右側連接有第二連接管道,所述排渣口右側固定有排渣管道,所述氣浮室右側連接有第三連接管道,所述第...
-
廣西欽州市河東污水處理廠提標改造工程施工招標公告 2018-01-23 [行業資訊] 熱度:262

1. 招標條件 本招標項目 欽州市河東污水處理廠提標改造工程 已由 欽州市發展和改革委員會 以 欽市發改環資[2017] 32號、欽市發改環資[2017] 39號、欽市發改環資[2017]64號 文批準建設,招標人為 欽州市開投水務有限...
-
城市污水處理方法和處理工藝介紹 2018-01-23 [行業資訊] 熱度:313

污水處理方法城市污水處理方法,按原理可分為物理處理法、化學處理法和生物處理法三類。城市污水的常規處理工藝①一級、二級、三級污水處理工藝現代污水處理技術,按照處理程度,可以分為一級、二級和三級處理污水工...
-
有機磷廢水處理技術 2018-01-23 [行業資訊] 熱度:373

有機磷農藥廢水的治理已成為國內外水處理領域的難題。該類廢水含有大量有機磷農藥中間體及水解產物,毒性大,難降解物質多,可生化性差,在沒有其他有機廢水混配或稀釋的情況下,很難直接采用生化法處理〔1-2〕。 近...
-
浙江江山市清湖鎮花園崗下山搬遷安置點二期基礎設施配套建設工程 2018-01-23 [行業資訊] 熱度:456

4期21號 1、招標條件 本招標項目江山市清湖鎮花園崗下山搬遷安置點二期基礎設施配套建設工程已經江發改投建【2017】49號文件批準建設,資金來源為上級補助及自籌,招標人為江山市清湖鎮人民政府。項目已具備招標條件...
-
湖北武漢愛民制藥有限公司數字化原料藥生產車間項目配套污水處理 2018-01-23 [行業資訊] 熱度:304

項目名稱武漢愛民制藥有限公司數字化原料藥生產車間項目配套污水處理站 地區湖北性質新建 進展武漢投資總額3350萬元 污水處理措施污水處理站 建設單位武漢愛民制藥有限公司 環評單位武漢工程大學 聯系人:方工 電話...
-
中華人民共和國水污染防治法(1996年修正) 2018-01-23 [行業資訊] 熱度:252

頒布機關:全國人民代表大會常務委員會 頒布時間:1984-05-11 修改時間:1996-05-15 實施時間:1984-11-01 時效性:有效 (1984年5月11日第六屆全國人民代表大會常務委員會第五次會議通過根據1996年5月15日第八屆全國...
- 首頁
- 上一頁
- 460
- 461
- 462
- 463
- 464
- 465
- 466
- 467
- 468
- 469
- 470
- 下一頁
- 末頁
- 共 526頁7888條
服務地區:北京;天津;上海;重慶;河北;河南;云南;遼寧;黑龍江;湖南;安徽;山東;江蘇;浙江;江西;湖北;廣西;甘肅;山西;陜西;吉林;福建;貴州;廣東;青海;四川;寧夏;海南
服務地區:哈爾濱;長春;沈陽;南京;濟南;合肥;石家莊;鄭州;武漢;長沙;南昌;西安;太原;成都;西寧;?冢粡V州;貴陽;杭州;福州;臺北;蘭州;昆明;銀川;烏魯木齊;拉薩;南寧
補充分類:電廠;工業;游泳池;系統;工程;工程師;藥劑;過濾器;絮凝劑;公司;廠家;生產廠家;