今天為大家詳細的介紹——一種新型化學除油器,小編認真總結整理了相關的內容知識,希望對您有所幫助。
小編整理總結了相關方面的知識及認真聽取了其他同事的說明,為您做以下的介紹。

新型化學除油器簡介
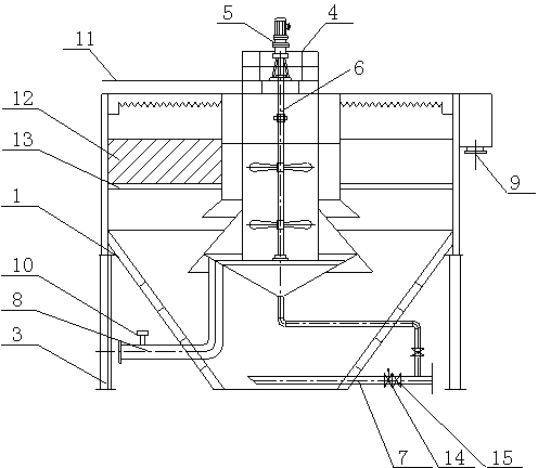
小編了解到,該新型化學除油器,包括殼體,殼體上部設有平臺,所述平臺兩端通過支腳固定在地面上;所述殼體中部設有攪拌裝置,所述的攪拌裝置由減速機連接攪拌軸組成;所述殼體底部設有排泥管,殼體中部設有進水管,殼體上部設有出水管;所述的進水管上設有混凝器投放口,殼體頂部設有油絮凝劑投加管。本實用新型設計新穎,將方形化學除油器制作為圓形,污泥斗采用圓錐形式,在攪拌裝置的作用下,污水和藥液充分混和,并互相碰撞,實現固液的良好分離。

小編點評:
學習是一個持久的過程,需要耐心和細心,當然也需要一點悟性,了解水處理行業同樣如此,小編會持續更新相關的內容,幫助大家學習。
一種新型化學除油器就介紹到這里了,感謝您閱讀本文,如果想了解更多,請持續關注我們的網站。





