研磨廢水處理系統,其包括研磨廢水池、抽水泵、PH調節池、凝集池、第二PH調節池、絮凝池、污泥沉淀池、清水池、污泥濃縮池以及水位感應裝置,研磨廢水池、抽水泵、PH調節池、凝集池、第二PH調節池、絮凝池、污泥沉淀池依次連通,污泥沉淀池的側壁的上部連通有清水池,污泥沉淀池的底部連通有污泥濃縮池,研磨廢水處理系統還包括中央控制系統,水位感應裝置的電路與中央控制系統的電路連通,抽水泵的電路與中央控制系統的電路連接,水位感應裝置設置于研磨廢水池內。本實用新型提供的研磨廢水處理系統的工作過程更智能、更方便和更快捷;同時,比較終處理得到的水質較好。
摘要附圖

權利要求書
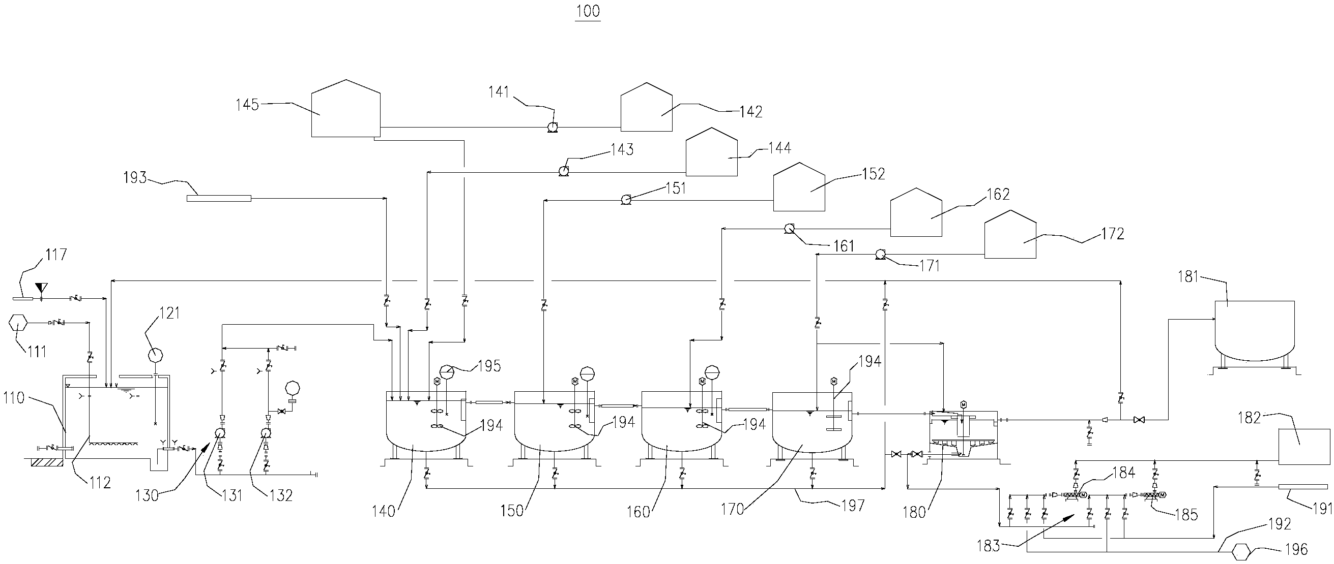
1.一種研磨廢水處理系統,其特征在于,包括研磨廢水池、抽水泵、PH調節池、凝集池、第二PH調節池、絮凝池、污泥沉淀池、清水池、污泥濃縮池以及水位感應裝置,所述研磨廢水池、所述抽水泵、所述PH調節池、所述凝集池、所述第二PH調節池、所述絮凝池、所述污泥沉淀池依次連通,所述污泥沉淀池的側壁的上部連通有清水池,所述污泥沉淀池的底部連通有污泥濃縮池,所述研磨廢水處理系統還包括中央控制系統,所述水位感應裝置的電路與所述中央控制系統的電路連接,所述抽水泵的電路與所述中央控制系統的電路連接,所述水位感應裝置設置于所述研磨廢水池內。
2.根據權利要求1所述的研磨廢水處理系統,其特征在于,所述研磨廢水處理系統還包括曝氣管,所述曝氣管的一端與曝氣風機連通,所述曝氣管遠離所述曝氣風機的一端設置于所述研磨廢水池的底部。
3.根據權利要求1所述的研磨廢水處理系統,其特征在于,所述PH調節池、所述凝集池、所述第二PH調節池、所述絮凝池以及所述污泥沉淀池的內部均設置有自動攪拌裝置。
4.根據權利要求1所述的研磨廢水處理系統,其特征在于,所述自動攪拌裝置的電路與所述中央控制系統的電路連接。
5.根據權利要求1所述的研磨廢水處理系統,其特征在于,所述PH調節池、所述凝集池、所述第二PH調節池和所述絮凝池的底部均設置有廢水回流管與所述研磨廢水池連通。
6.根據權利要求1所述的研磨廢水處理系統,其特征在于,所述研磨廢水處理系統還包括堿液移送泵和酸液移送泵,所述堿液移送泵和所述酸液移送泵均與所述PH調節池連通。
7.根據權利要求6所述的研磨廢水處理系統,其特征在于,所述研磨廢水處理系統還包括堿液稀釋槽,所述堿液稀釋槽與所述堿液移送泵、所述PH調節池連通。
8.根據權利要求1所述的研磨廢水處理系統,其特征在于,所述研磨廢水處理系統還包括凝集劑移送泵,所述凝集劑移送泵與所述凝集池連通。
9.根據權利要求1所述的研磨廢水處理系統,其特征在于,所述研磨廢水處理系統還包括第二堿液移送泵,所述第二堿液移送泵與所述第二PH調節池連通。
10.根據權利要求1所述的研磨廢水處理系統,其特征在于,所述研磨廢水處理系統還包括絮凝劑移送泵,所述絮凝劑移送泵與所述絮凝池連通。
說明書
一種研磨廢水處理系統
技術領域
本實用新型涉及廢水處理領域,具體而言,涉及一種研磨廢水處理系統。
背景技術
隨著當今社會的發展,環境污染問題日益嚴重,而其中水污染問題較為突出,在如此背景下,處理好工業廢水顯得尤為重要,現在大多數污水處理廠在修建處理研磨廢水系統時為了節省污水處理系統的占地面積,將很多污水處理單元進行合并,導致比較終處理后的水質指標未達到預期值,并且很多污水處理廠未設置水位感應控制裝置,使得在污水處理系統運行過程中控制水位存在諸多不便。
實用新型內容
本實用新型提供了一種研磨廢水處理系統,旨在改善研磨廢水處理系統運行中操作存在的不便和處理后水質指標難以達到預期值的問題。
本實用新型是這樣實現的:
一種研磨廢水處理系統,其包括研磨廢水池、抽水泵、PH調節池、凝集池、第二PH調節池、絮凝池、污泥沉淀池、清水池、污泥濃縮池以及水位感應裝置,研磨廢水池、抽水泵、PH調節池、凝集池、第二PH調節池、絮凝池、污泥沉淀池依次連通,污泥沉淀池的側壁的上部連通有清水池,污泥沉淀池的底部連通有污泥濃縮池,研磨廢水處理系統還包括中央控制系統,水位感應裝置的電路與中央控制系統的電路連通,抽水泵的電路與中央控制系統的電路連接,水位感應裝置設置于研磨廢水池內。
進一步地,在本實用新型較佳的實施例中,研磨廢水處理系統還包括曝氣管,曝氣管的一端與曝氣風機連通,曝氣管遠離曝氣風機的一端設置于研磨廢水池的底部。
進一步地,在本實用新型較佳的實施例中,PH調節池、凝集池、第二PH調節池、絮凝池以及污泥沉淀池的內部均設置有自動攪拌裝置。
進一步地,在本實用新型較佳的實施例中,自動攪拌裝置的電路與中央控制系統的電路連接。
進一步地,在本實用新型較佳的實施例中,PH調節池、凝集池、第二PH調節池和絮凝池的底部均設置有廢水回流管與研磨廢水池連通。
進一步地,在本實用新型較佳的實施例中,研磨廢水處理系統還包括堿液移送泵和酸液移送泵,堿液移送泵和酸液移送泵均與PH調節池連通。
進一步地,在本實用新型較佳的實施例中,研磨廢水處理系統還包括堿液稀釋槽,堿液稀釋槽與堿液移送泵、PH調節池連通。
進一步地,在本實用新型較佳的實施例中,研磨廢水處理系統還包括凝集劑移送泵,凝集劑移送泵與凝集池連通。
進一步地,在本實用新型較佳的實施例中,研磨廢水處理系統還包括第二堿液移送泵,第二堿液移送泵與第二PH調節池連通。
進一步地,在本實用新型較佳的實施例中,研磨廢水處理系統還包括絮凝劑移送泵,絮凝劑移送泵與絮凝池連通。
本實用新型的有益效果是:本實用新型的水位感應裝置、中央控制系統和抽水泵的共同作用使得整個研磨廢水處理系統的工作過程更智能、更方便和更快捷;同時,其具有兩個PH調節池和將混凝過程分離開來形成凝集池和絮凝池使得比較終處理得到的水質大大提升。

污水處理設備聯系方式:
銷售熱線:010-8022-5898
手機號碼:186-1009-4262
污水處理欄目網址:http://www.n8534.cn/ws/