洗車廢水處理裝置,包括依次相連通的廢水沉淀池、虹吸泵、一級濾油裝置、二級濾油裝置、超聲波破碎裝置、臭氧殺菌裝置、膜過濾裝置和紫外殺菌裝置;廢水沉淀池底部設置有一級泥沙沉淀池,廢水沉淀池中上部設置折彎管,折彎管進液口端設置剛性濾網,折彎管出液口端通過輸送管道連接至虹吸泵,虹吸泵出液口端連接至一級濾油裝置。本實用新型有效分離洗車廢水中的泥沙,去除洗車廢水中的油類、有機物、陰離子合成洗滌液等大量污染物,將洗車廢水凈化為可滿足二次利用的洗車水,節約水資源,保護生態環境。

權利要求書
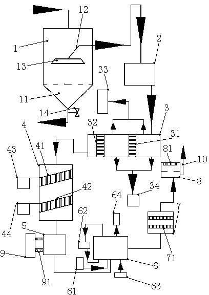
1.一種洗車廢水處理裝置,其特征在于,結構包括依次相連通的廢水沉淀池(1)、虹吸泵(2)、一級濾油裝置(3)、二級濾油裝置(4)、超聲波破碎裝置(5)、臭氧殺菌裝置(6)、膜過濾裝置(7)和紫外殺菌裝置(8);所述廢水沉淀池(1)底部設置有一級泥沙沉淀池(11),廢水沉淀池(1)中上部設置折彎管(12),折彎管(12)進液口端設置剛性濾網(13),折彎管(12)出液口端通過輸送管道連接至虹吸泵(2),虹吸泵(2)出液口端連接至一級濾油裝置(3);
所述一級濾油裝置(3)內部設置有一級濾油篩網(31)和二級濾油篩網(32),一級濾油篩網(31)和二級濾油篩網(32)中填充有石英砂過濾柱,一級濾油裝置(3)上部連接有除油器(33),一級濾油裝置(3)底部連接有二級泥沙沉淀池(34);
所述二級濾油裝置(4)內部自上而下依次設置有三級濾油篩網(41)和四級濾油篩網(42),三級濾油篩網(41)末端連接有集油器(43),四級濾油篩網(42)末端連接有第二集油器(44),三級濾油篩網(41)和四級濾油篩網(42)中設置有活性炭吸附柱;
所述超聲波破碎裝置(5)左側設置有超聲波發生器(9),超聲波發生器(9)通過超聲波輸送管道連接至超聲波破碎裝置(5)左壁;
所述臭氧殺菌裝置(6)外側依次設置有臭氧發生器(61)、氣體循環泵(62)、高壓氮氣儲存罐(63)和臭氧消除器(64);
所述紫外殺菌裝置(8)右下方連接洗車水出液管道(10)。
2.根據權利要求1所述的洗車廢水處理裝置,其特征在于,所述三級濾油篩網(41)設置為傾斜結構。
3.根據權利要求1所述的洗車廢水處理裝置,其特征在于,所述四級濾油篩網(42)設置為傾斜結構。
4.根據權利要求1所述的洗車廢水處理裝置,其特征在于,所述膜過濾裝置(7)為中空纖維膜過濾裝置。
5.根據權利要求1所述的洗車廢水處理裝置,其特征在于,所述膜過濾裝置(7)中設置有活性炭吸附層(71)。
6.根據權利要求1所述的洗車廢水處理裝置,其特征在于,所述紫外殺菌裝置(8)頂部設置紫外線殺菌燈(81)。
7.根據權利要求1所述的洗車廢水處理裝置,其特征在于,所述一級泥沙沉淀池(11)底端增加有卸料口(14)。
說明書
一種洗車廢水處理裝置
技術領域
本實用新型涉及廢水處理技術領域,特別涉及一種洗車廢水處理裝置。
背景技術
隨著經濟的發展,人民生活水平的提高,單位和家庭擁有汽車數量也越來越多,洗車業呈現了日益紅火的局面,洗車行業是市政用水大戶,單位車輛清洗用水量呈上升趨勢,且用水量較大。洗車用水的日益增長和城市水資源的緊缺現狀使得洗車行業廢水處理已成為當前急需解決的問題。洗車廢水中含有大量油類、有機物、陰離子合成洗滌液等大量污染物,這些洗車廢水若直接排入市政污水管網,不僅浪費了大量的水資源而且增加了城市污染、破壞周邊生態環境,此外,洗車廢水中還夾帶大量泥砂,長期排放這些泥砂會堵塞城市的排水管網,導致排水不暢。
基于以上分析,對現有洗車廢水處理工藝存在的技術問題進行改進,設計一種洗車廢水處理裝置,有效分離洗車廢水中的泥沙,去除洗車廢水中的油類、有機物、陰離子合成洗滌液等大量污染物,將洗車廢水凈化為可滿足二次利用的洗車水,節約水資源,保護生態環境,顯得尤為重要。
實用新型內容
本實用新型的目的是,針對現有洗車廢水處理工藝存在的技術問題進行改進,設計一種洗車廢水處理裝置,有效分離洗車廢水中的泥沙,去除洗車廢水中的油類、有機物、陰離子合成洗滌液等大量污染物,將洗車廢水凈化為可滿足二次利用的洗車水,節約水資源,保護生態環境。
本實用新型通過以下技術方案實現:
一種洗車廢水處理裝置,其特征在于,結構包括依次相連通的廢水沉淀池(1)、虹吸泵(2)、一級濾油裝置(3)、二級濾油裝置(4)、超聲波破碎裝置(5)、臭氧殺菌裝置(6)、膜過濾裝置(7)和紫外殺菌裝置(8);所述廢水沉淀池(1)底部設置有一級泥沙沉淀池(11),廢水沉淀池(1)中上部設置折彎管(12),折彎管(12)進液口端設置剛性濾網(13),折彎管(12)出液口端通過輸送管道連接至虹吸泵(2),虹吸泵(2)出液口端連接至一級濾油裝置(3);
所述一級濾油裝置(3)內部設置有一級濾油篩網(31)和二級濾油篩網(32),一級濾油篩網(31)和二級濾油篩網(32)中填充有石英砂過濾柱,一級濾油裝置(3)上部連接有除油器(33),一級濾油裝置(3)底部連接有二級泥沙沉淀池(34);
所述二級濾油裝置(4)內部自上而下依次設置有三級濾油篩網(41)和四級濾油篩網(42),三級濾油篩網(41)末端連接有集油器(43),四級濾油篩網(42)末端連接有第二集油器(44),三級濾油篩網(41)和四級濾油篩網(42)中設置有活性炭吸附柱;
所述超聲波破碎裝置(5)左側設置有超聲波發生器(9),超聲波發生器(9)通過超聲波輸送管道連接至超聲波破碎裝置(5)左壁;
所述臭氧殺菌裝置(6)外側依次設置有臭氧發生器(61)、氣體循環泵(62)、高壓氮氣儲存罐(63)和臭氧消除器(64);
所述紫外殺菌裝置(8)右下方連接洗車水出液管道(10)。
進一步,所述三級濾油篩網(41)設置為傾斜結構。
進一步,所述四級濾油篩網(42)設置為傾斜結構。
進一步,所述膜過濾裝置(7)為中空纖維膜過濾裝置。
進一步,所述膜過濾裝置(7)中設置有活性炭吸附層(71)。
進一步,所述紫外殺菌裝置(8)頂部設置紫外線殺菌燈(81)。
進一步,所述一級泥沙沉淀池(11)底端增加有卸料口(14)。
本實用新型提供了一種洗車廢水處理裝置,與現有技術相比,有益效果在于:
1、本實用新型集成了依次連接的廢水沉淀池(1)、虹吸泵(2)、一級濾油裝置(3)、二級濾油裝置(4)、超聲波破碎裝置(5)、臭氧殺菌裝置(6)、膜過濾裝置(7)和紫外殺菌裝置(8),此種設計結構,利用廢水沉淀池(1)完成對洗車廢水中的泥沙進行初步沉淀,利用一級濾油裝置(3)和二級濾油裝置(4)對洗車廢水中產生的油類進行初步過濾,利用超聲波破碎裝置(5)對洗車廢水中的大分子有機物進行破碎,利用臭氧殺菌裝置(6)對超聲波破碎后的有機物進行臭氧殺菌,避免細菌等污染物滋生,殺菌后的洗車廢水進入膜過濾裝置(7)進行深度過濾,過濾后獲得洗車水進入紫外殺菌裝置(8)中,利用紫外殺菌裝置(8)中的紫外燈進行二次殺菌,殺菌后獲得純凈度較高的洗車水通過洗車水出液管道(10)進入洗車工藝段,上述結構有效解決了洗車廢水難以處理的技術問題。
2、本實用新型廢水沉淀池(1)中上部設置折彎管(12),折彎管(12)進液口端設置剛性濾網(13),折彎管(12)出液口端通過輸送管道連接至虹吸泵(2),虹吸泵(2)出液口端連接至一級濾油裝置(3),此種設計結構,設計的折彎管(12)、剛性濾網(13)和虹吸泵(2)有效避免了洗車廢水中的泥沙進入后續處理工藝引起管路堵塞現場,保證了洗車廢水處理的順暢性和持續性,提高廢水處理效率。
3、本實用新型臭氧殺菌裝置(6)外側依次設置有臭氧發生器(61)、氣體循環泵(62)、高壓氮氣儲存罐(63)和臭氧消除器(64),在洗車廢水處理工藝中利用利用臭氧發生器(61)產生的臭氧對進入臭氧殺菌裝置(6)中的洗車廢水進行臭氧殺菌,通過氣體循環泵(62)使得臭氧在臭氧殺菌裝置(6)中循環利用,處理結束后,利用高壓氮氣儲存罐(63)輸入高壓氮氣將殘余于洗車廢水中的臭氧進行排出,殘余的臭氧進入臭氧消除器(64)中得以消除,避免臭氧直接外排造成的環境污染。
4、本實用新型增加有膜過濾裝置(7),膜過濾裝置(7)為中空纖維膜過濾裝置,膜過濾裝置(7)中設置有活性炭吸附層(71),此種設計結構結合了膜過濾技術和活性炭吸附技術,使得獲得洗車水潔凈度更高,滿足了洗車水二次利用的水質要求。

污水處理設備聯系方式:
銷售熱線:010-8022-5898
手機號碼:186-1009-4262
污水處理欄目網址:http://www.n8534.cn/ws/