曝氣裝置,裝置內設置豎向隔板和第二豎向隔板,所述豎向隔板和第二豎向隔板相互垂直連接,且豎向隔板不與裝置底部接觸,第二豎向隔板與裝置底部接觸;第二豎向隔板上圍繞著第二豎向隔板搭設有通氣主管,所述第二豎向隔板與裝置形成的空間內設置有通氣支管,通氣主管與通氣支管相通,通氣支管上連通有多個豎向的曝氣管。本發明還提供一種地下水處理工藝,待處理的地下水部分進入氫離子交換器后通過混合器與原待處理的地下水按比例混合,混合后進入曝氣裝置。本發明的曝氣裝置可實現曝氣裝置底部進水、上部出水,曝氣充分,出水總硬度為總硬度的3/4左右,維持人體所需硬度的情況下去除水垢,pH值在6~7。
摘要附圖

權利要求書
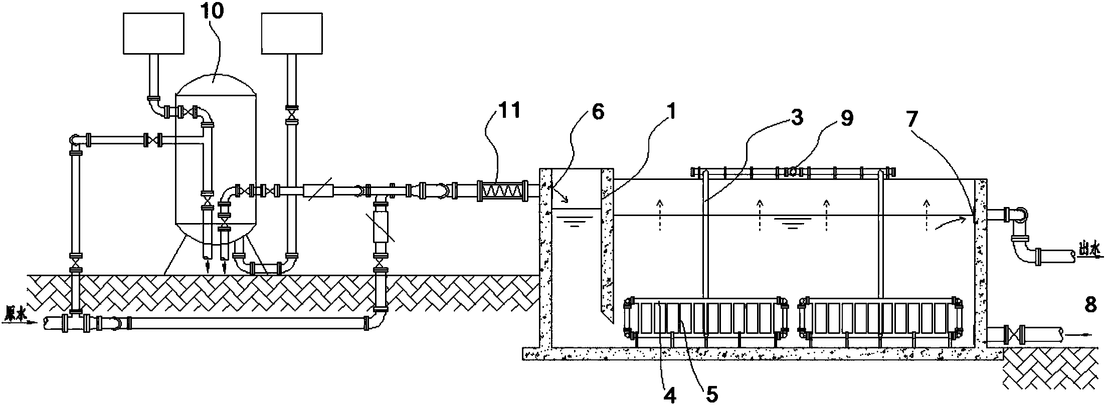
1.一種曝氣裝置,其特征在于,所述裝置內設置豎向隔板(1)和第二豎向隔板(2),所述豎向隔板(1)和第二豎向隔板(2)相互垂直連接,且豎向隔板(1)不與裝置底部接觸,第二豎向隔板(2)與裝置底部接觸;
所述第二豎向隔板(2)上圍繞著第二豎向隔板(2)搭設有通氣主管(3),所述第二豎向隔板(2)與裝置形成的空間內設置有通氣支管(4),通氣主管(3)與通氣支管(4)相通,通氣支管(4)上連通有多個豎向的曝氣管(5),曝氣管(5)的壁上分布曝氣孔。
2.如權利要求1所述裝置,其特征在于,所述裝置設置進水口(6)和出水口(7),且進水口(6)距裝置下部的距離大于出水口(7)距裝置下部的距離,進水口(6)與出水口(7)之間依次設有豎向隔板(1)和第二豎向隔板(2),通過進水口(6)進入的水從豎向隔板(1)的下部通過后進入第二豎向隔板(2)與裝置形成的空間內。
3.如權利要求1所述裝置,其特征在于,所述多個豎向的曝氣管(5)呈多行多列設置,曝氣管(5)的壁上呈45°分布曝氣孔。
4.如權利要求1所述裝置,其特征在于,所述裝置下部連接放空管(8);所述通氣主管(3)與鼓風裝置(9)連接。
5.如權利要求1所述裝置,其特征在于,豎向隔板(1)和第二豎向隔板(2)相互垂直連接,且第二豎向隔板(2)處在豎向隔板(1)的中軸線上。
6.如權利要求1所述裝置,其特征在于,豎向隔板(1)距離曝氣裝置底部的高度為0.1m~0.2m。
7.如權利要求1所述裝置,其特征在于,所述每根曝氣管(5)的服務面積為0.8m2~1.2m2。
8.一種地下水處理工藝,其特征在于,待處理的地下水部分進入氫離子交換器(10)后通過混合器(11)與原待處理的地下水按比例混合,混合后進入權利要求1所述曝氣裝置進行曝氣。
9.如權利要求8所述工藝,其特征在于,所述待處理水經由曝氣裝置進水口(6)進入的水力停留時間為1min~3min,在第二豎向隔板(2)與裝置形成的空間內水力停留時間為20min~45min。所述曝氣裝置的氣水比為B/10,其中B表示待處理地下水的暫時硬度。
10.如權利要求8所述工藝,其特征在于,按比例混合時混合比例為體積比1:5。
說明書
一種曝氣裝置及地下水處理工藝
技術領域
本發明屬于水處理技術領域,涉及地下水處理,具體涉及一種曝氣裝置及去除水垢、降低總硬度的地下水處理工藝。
背景技術
地下水是我國居民重要和優質的飲用水水源,但是,地下水普遍存在硬度和暫時硬度(水垢)較高的問題。
目前處理高硬度水、去除水垢的技術主要有石灰軟化法、膜軟化法、離子交換法和酸堿平衡曝氣法。石灰軟化法能從根本上降低總硬度,但會產生大量泥渣,處理工藝復雜。膜軟化法運行過程中動力消耗較大,制水成本較高,且為減輕主體工藝中膜材料受到的污染,需要較為繁瑣的預處理過程。傳統的Na型離子交換工藝會將全部水中的鈣、鎂離子置換出來,向水中引入鈉離子,在工業水處理過程中應用較多,H型離子交換器通過氫離子將水中鈣鎂等陽離子置換出來,但出水pH值降低,需用堿再次調節使pH達到要求。酸堿平衡曝氣法是指向水中投加強酸為主的阻垢劑,將水中產生水垢的碳酸氫根轉化為二氧化碳,通過曝氣吹脫二氧化碳恢復pH,其能有效去除水垢,但不降低總硬度,且會向水中引入大量陰離子,可能影響飲用水口感。
針對總硬度較高甚至超過450mg/L、堿度超過200mg/L的地下水,總硬度超標,燒水水垢多,采取石灰軟化法工藝復雜,膜軟化法和離子交換法成本高,酸堿平衡曝氣法雖能很好地去除水垢,但難以解決總硬度超標和引入大量陰離子問題。
發明內容
針對現有技術存在的不足,本發明的目的在于,提供一種曝氣裝置及去除水垢、降低總硬度的地下水處理工藝。
為了解決上述技術問題,本發明采用如下技術方案予以實現:
一種曝氣裝置,其特征在于,所述裝置內設置豎向隔板和第二豎向隔板,所述豎向隔板和第二豎向隔板相互垂直連接,且豎向隔板不與裝置底部接觸,第二豎向隔板與裝置底部接觸;
所述第二豎向隔板上圍繞著第二豎向隔板搭設有通氣主管,所述第二豎向隔板與裝置形成的空間內設置有通氣支管,通氣主管與通氣支管相通,通氣支管上連通有多個豎向的曝氣管,曝氣管側壁45°分布多個曝氣孔。
所述裝置設置進水口和出水口,且進水口距裝置下部的距離大于出水口距裝置下部的距離,即進水高度大于出水高度,進水口與出水口之間依次設有豎向隔板和第二豎向隔板,通過進水口進入的水從豎向隔板的下部通過后進入第二豎向隔板與裝置形成的空間內。
所述多個豎向的曝氣管呈多行多列設置。
所述裝置下部連接放空管;所述通氣主管與鼓風裝置連接。
豎向隔板和第二豎向隔板相互垂直連接,且第二豎向隔板處在豎向隔板的中軸線上。
本發明還提供一種地下水處理工藝,待處理的地下水部分進入氫離子交換器后通過混合器與原待處理的地下水按比例混合,混合后進入權利要求1所述曝氣裝置進行曝氣。
豎向隔板距離曝氣裝置底部的高度為0.1m~0.2m。
所述每根曝氣管的服務面積為0.8m2~1.2m2。
所述待處理水經由曝氣裝置進水口進入的水力停留時間為1min~3min,在第二豎向隔板與裝置形成的空間內水力停留時間為20min~45min。所述曝氣裝置的氣水比為B/10,其中B表示待處理地下水的暫時硬度。
混合比例為體積比1:5為宜。
本發明與現有技術相比,具有如下技術效果:
(1)本發明的曝氣裝置經豎向隔板和第二豎向隔板分隔為進水區和多個曝氣區,進水區和曝氣區底部部分連通,這樣就可以實現曝氣裝置底部進水、上部出水,曝氣充分、不同于現有的上部進水的曝氣裝置,出水效果優。
(2)本發明的曝氣裝置豎向隔板和第二豎向隔板相互垂直對稱布置,因此,進水區的水由底部進入曝氣區時,會實現均勻配水,不需再使用分流器等裝置,大大簡化現有曝氣工藝。同時,由于分隔出多個曝氣區,相較單個曝氣區,長寬比增大,更有利于水體的曝氣擾動,曝氣效果優,不同于現有曝氣裝置一味地通過曝氣管增多增加曝氣效果,簡化了現有曝氣工藝。
(3)本發明的曝氣裝置進水口高度高于出水口高度,進水區內的水體高度不會沒過進水口,在一定高度差下,形成一個跌水曝氣的效果,提高整體曝氣效率,同時也減輕后續曝氣區的工作量。
(4)本發明的曝氣裝置,設置多行多列的豎向曝氣管進行曝氣,能實現以曝氣管為中心的一個圓周的曝氣,加之每根曝氣管的服務面積為0.8~1.2m2,因此,經由底部進入的水基本能實現全部快速曝氣,僅需10~20min的曝氣時間就能完成CO2氣體的吹脫,效率高。
(5)本發明的地下水處理工藝,原水一部分進入氫型離子交換器,另一部分不處理的原水與氫型離子交換器的出水混合曝氣,水中會含有部分鈣、鎂離子,也不會導致出水pH值低,只要比例控制合適,可以達到出水總硬度為總硬度的3/4左右,pH值在6~7之間,且不引入雜質陰離子,保證出水含有人體所需的硬度、水垢去除,pH值達到國家飲用水相關標準,解決目前地下水處理時,pH調節與總硬度達標難顧全的問題。
(6)本發明的工藝操作簡單、管理方便、可程序化,可使用兩套氫型離子交換器交替使用(一套再生、一套運行),而且離子樹脂可再生,運行費用少,僅僅是離子交換、混合和曝氣三個主要步驟,其運行費用低于其他的目標處理工藝。
以下結合實施例對本發明的具體內容作進一步詳細解釋說明。

污水處理設備聯系方式:
銷售熱線:010-8022-5898
手機號碼:186-1009-4262
污水處理欄目網址:http://www.n8534.cn/ws/