|
一、 |
選型參考 |
|
1、 |
除氧設備選型 |
除氧設備選型的主要依據是處理量,一般而言設備處理量應為實際需水量的1.25倍左右,各種型號設備的具體處理量參見表一, 表中所標識的型號為設備的比較小處理量。若需水量有其他要求(例如需水量未包含在表中或用水量在不同時期變化較大等),可與本公司技術部門聯系,設備變動一般不影響價格。
|
2、 |
配套設備選型 |
|
除氧器 |
型號 |
ZKJ-4 |
ZKJ-10 |
ZKJ-16 |
ZKJ-20 |
ZKJ-35 |
ZKJ-42 |
ZKJ-54 |
ZKJ-70 |
|
出力t/h |
2-4 |
6-10 |
12-16 |
18-20 |
32-35 |
40-45 |
50-58 |
74-80 |
|
|
除氧泵 |
型號 |
IS 50-32-200 |
IS65-40-200 |
IS 80-50-200 |
IS 100-65-200 |
||||
|
出力t/h |
7.6 |
12.5 |
20 |
25 |
50 |
50 |
60 |
100 |
|
|
揚程m |
52.0 |
50 |
50 |
50 |
50 |
50 |
54 |
50 |
|
除氧泵選型參考
注:對于處理量大于45 t/h的設備,除氧泵的選型主要由用戶自己完成
|
二、 |
運行操作規程 |
1、啟動前檢查:軟水箱水位應處于中等高度;解析器出水口至水箱之間管路應保持暢通,閥門全開;電控箱狀態處于手動檔。
2、接通電控箱電源;啟動除氧水泵。
3、將加熱器溫度調至320℃左右,反應器溫度調至300℃左右,接通加熱器、反應器電源(鈕子開關接通,電控箱右下角兩個指示燈亮,溫度指示控制儀下側指示燈亮)。
4、觀察溫度指示達到額定要求后溫度指示控制儀的自控情況,溫度達到要求即可實現自控,穩定運行20分鐘后可取樣分析;(溫度上升時可適當調整加熱器額定溫度,以配合反應器穩定工作)。
5、溫度穩定后可啟動補水泵向后續工段補水;(正常運轉時除氧器出水量大于補水量,部分除氧水回流至軟水箱或流至專用水箱)。
6、停機:需要停機時應先切斷反應器和加熱器電源,然后再停除氧泵。
7、再次使用時重復步驟 2~5,溫度控制儀一般不需要再進行調整。
|
三、 |
供貨清單 |
|
1、 |
除氧設備主體供貨清單 |
解吸除氧設備的主體在出廠時已進行了初步組裝,設備的加熱器、反應器、換熱器和電控柜統一組裝在支架上;根據型號的不同(即處理量的不同)設備所配備的引射器數量也有所不同,詳見下表。
|
部件型號 |
ZKJ-4 |
ZKJ-10 |
ZKJ-16 |
ZKJ-20 |
ZKJ-35 |
ZKJ-42 |
ZKJ-54 |
ZKJ-70 |
|
控制器(套) |
1 |
1 |
1 |
1 |
1 |
1 |
1 |
1 |
|
加熱反應器 |
1 |
1 |
1 |
1 |
1 |
1 |
1 |
1 |
|
解吸器(件) |
1 |
1 |
1 |
1 |
1 |
1 |
1 |
1 |
|
分離器(件) |
1 |
1 |
1 |
1 |
1 |
1 |
1 |
1 |
|
引射器 |
1 |
1 |
1 |
2 |
2 |
3 |
3 |
4 |
除氧器供貨清單
注:當運輸不便或具體情況需要時,也可能以其他包裝形式供貨。
|
2、 |
隨機附件 |
為了讓用戶能更好地保養設備,使設備始終運行于比較佳狀態,本公司在供應設備的同時隨機提供下列附件,請注意查收:
|
附件名 |
數量 |
備 注 |
附件名 |
數量 |
備 注 |
|
電熱管 |
2支 |
平均壽命約3年 |
安裝圖 |
1張 |
設備安裝圖表 |
|
料 斗 |
1支 |
添加反應劑時用 |
電路圖 |
1套 |
電控柜原理圖 |
|
反應劑 |
適量 |
活性炭+催化劑 |
合格證質保卡 |
各1張 |
加蓋公章有效 |
除氧器隨機附件清單
|
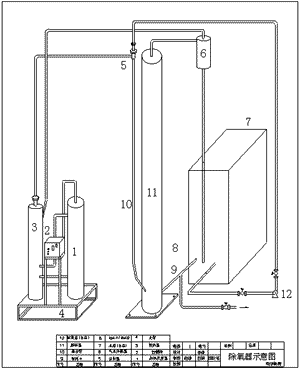
四、 |
設備運行示意圖(點擊看大圖) |

上圖所示為設備安裝后的運行示意圖,供貨范圍參見"供貨清單"
|
五、 |
設備安裝圖 |
基礎尺寸表 單位: mm
|
代號型號 |
ZKJ-4 |
ZKJ-10 |
ZKJ-16 |
ZKJ-20 |
ZKJ-35 |
ZKJ-42 |
ZKJ-54 |
ZKJ-70 |
|
L |
1300 |
1300 |
1500 |
1500 |
1650 |
1800 |
2000 |
2250 |
|
A |
250 |
300 |
390 |
390 |
440 |
490 |
540 |
600 |
|
N |
325 |
400 |
400 |
425 |
450 |
525 |
625 |
1000 |
|
S |
≥1500 |
|||||||
備注:
1、設備距墻>300mm;設備地基尺寸見地基圖;
2、設備對地基無特殊要求,只需水平即可;
3、系統安裝時應保證解吸器頂部高于軟化水箱比較高液面1500~2000mm ;
4、設備的相對位置及距離S是為檢修方便而設,可根據實際情況自由調整;
5、由于可能存在誤差及其他因素,建議用預埋鋼板替代地腳螺栓, 現場焊接;
6、設備出廠方式根據具體情況有所不同;如有變動, 請參照隨機資料, 恕不另行通知。
|
六、 |
安裝尺寸表(單位:mm) |
|
項目 |
ZKJ-4 |
ZKJ-10 |
ZKJ-16 |
ZKJ-20 |
ZKJ-35 |
ZKJ-42 |
ZKJ-54 |
ZKJ-70 |
|
H1 |
<1000 |
<1000 |
<1000 |
<1000 |
<1000 |
<1000 |
<1000 |
<1000 |
|
H2 |
4150 |
4250 |
4250 |
4500 |
4500 |
4500 |
4750 |
5000 |
|
H3 |
3500 |
3500 |
3500 |
3500 |
3500 |
3500 |
3500 |
3500 |
|
H4 |
5000 |
5500 |
5500 |
5500 |
5500 |
5500 |
5500 |
5500 |
|
H5 |
5300 |
5800 |
5800 |
5800 |
5800 |
5800 |
5800 |
6000 |
|
H6 |
5300 |
5800 |
5800 |
5800 |
5800 |
5800 |
5800 |
6000 |
|
H7 |
4900 |
5400 |
5400 |
5400 |
5400 |
5400 |
5400 |
5400 |
|
H8 |
300 |
300 |
300 |
300 |
300 |
300 |
300 |
300 |
|
Φ1 |
Φ76×3.5 |
Φ102× 4 |
Φ102× 4 |
Φ102× 4 |
Φ133× 4 |
Φ159×4.5 |
Φ217× 6 |
Φ217× 6 |
|
Φ2 |
Φ45× 3 |
Φ76×3.5 |
Φ76×3.5 |
Φ76×3.5 |
Φ83× 4 |
Φ108×4 |
Φ159× 4.5 |
Φ159× 4.5 |
|
Φ3 |
Φ26× 3 |
Φ32× 3 |
Φ32× 3 |
Φ32× 3 |
Φ42× 3 |
Φ42×3 |
Φ57× 3 |
Φ57× 3 |
|
Φ4 |
Φ45× 3 |
Φ76×3.5 |
Φ76×3.5 |
Φ76×3.5 |
Φ76×3.5 |
Φ76×3.5 |
Φ76×3.5 |
Φ76×3.5 |
|
Φ5 |
Φ45× 3 |
Φ76×3.5 |
Φ76×3.5 |
Φ76×3.5 |
Φ83× 4 |
Φ108×4 |
Φ108× 4 |
Φ108× 4 |
|
Φ6 |
Φ38× 3 |
Φ57×3.5 |
Φ57×3.5 |
Φ76×3.5 |
Φ83× 4 |
Φ108×4 |
Φ159× 4.5 |
Φ159×4.5 |
|
Φ7 |
Φ38× 3 |
Φ57×3.5 |
Φ57×3.5 |
Φ76×3.5 |
Φ83× 4 |
Φ108×4 |
Φ159×4.5 |
Φ159×4.5 |
|
L |
1300 |
1500 |
1500 |
1500 |
1650 |
1800 |
2000 |
2250 |
|
A |
250 |
300 |
390 |
390 |
440 |
490 |
540 |
600 |
|
引射器 |
1 |
1 |
1 |
2 |
2 |
3 |
4 |
4 |
|
七、 |
除氧水箱 |
注:
1、解吸除氧器本不再需要加裝除氧水箱,但在實際應用中,有些用戶自己需要加裝;2、本圖只是示意性地表示了除氧水箱、軟水箱等設備的連接方式,由于現場情況不盡相同,所以具體的連接方式應由設計人員和安裝人員根據實際情況來確定;3、上圖所示連接方式在實際已有應用;效果良好。





